2025年上半年,越南滚珠轴承(HS编码 84821000
滚珠轴承作为机械传动系统的核心部件,广泛应用于汽车、家电、机械加工、能源及电子制造等领域,其进口走势已成为越南制造业活跃度的重要信号。
滚珠轴承的需求扩张不仅源自制造业生产线扩容,也反映出越南在全球供应链中扮演的中间制造与组装枢纽角色。从汽车到电动工具,从纺织机械到电子设备,越南市场对精密轴承的依赖正持续加深。
2025年上半年,越南滚珠轴承进口总体维持高位运行,2月表现尤为突出:

整体来看,进口额自1月起稳步上升,2月达到全年上半年峰值 1,445万美元,之后虽略有回落,但5月至6月仍维持在 9,000万美元级别。这反映出越南制造业在春节假期后快速复工,外资工厂的零部件补货需求集中释放。
从数量变化看,5月进口件数最高,超过 3,460万件,显示市场活跃度持续攀升。总体趋势表明,越南工业生产在上半年延续增长态势,滚珠轴承进口作为基础性组件需求的代表,呈现出稳中向上的结构性扩张。
越南的滚珠轴承进口市场呈现明显的“外资主导+本地分销协同”格局。主要进口商集中在汽车、机械及电动工具制造领域,多数为国际品牌在越南设立的生产基地。
TECHTRONIC TOOLS (VIETNAM) CO., LTD.:上半年进口额高达 557万美元,数量近 1,880万件,主要用于电动工具和家电制造。作为TTI集团的核心生产基地之一,其上游供应来自中国与香港的MPV SP平台。
NTN BEARING VIET NAM COMPANY LIMITED.:进口额 367万美元,主要从新加坡、日本及中国台湾采购,是越南本地滚动轴承制造与分销的重要节点。
SCHAEFFLER VIETNAM COMPANY LIMITED.:进口额 259万美元,与德国舍弗勒集团保持紧密联系,其产品主要服务于工业机械与自动化设备领域。
TAN HOA LOI COMPANY LIMITED.:以分销与机械贸易为主,进口额 245万美元,其主要上游来自中国山东及阿联酋,服务范围涵盖纺织机械与通用设备。
YAMAHA MOTOR VIETNAM CO., LTD.:进口额约 70万美元,用于摩托车发动机和传动系统组装,供应链涉及日本、中国及印尼多地工厂。
这些企业构成了越南滚珠轴承市场的核心采购群体。从产品结构上看,高端精密轴承由德国、日本企业供应,中低端标准轴承则主要来自中国及中国台湾制造厂,实现了层次分明的分工格局。
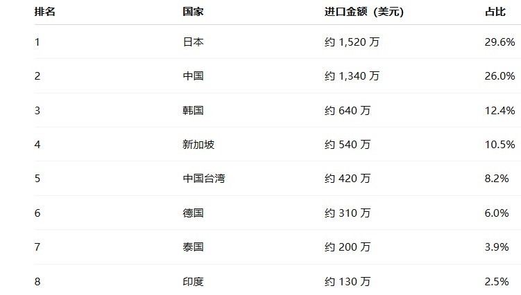
从进口来源国结构看,越南滚珠轴承市场的供应重心集中在东亚与东南亚地区,体现出区域制造体系的紧密关联。

可以看到,日本与中国 是越南滚珠轴承市场的双核心来源,占据超过一半的市场份额。
日本品牌如 NTN、NSK、Nachi 以精密度高、耐磨性强著称,是高端机械与汽车行业的首选。
中国与中国台湾则以中低端批量产品为主,在通用设备与家电制造领域具有成本优势。
韩国与新加坡 供应的轴承多为区域内转口贸易产品,为跨国企业提供灵活补给与中转功能。
这种“东亚集群化供应结构”使越南能在多层级制造环节中快速获得配套零部件,从而提升产业链韧性与响应速度。
从地区分布来看,越南滚珠轴承进口的主力供应区集中于东亚与东南亚。
东亚(日本、中国、韩国、中国台湾):提供从高端到标准化的全品类轴承产品,是越南制造业的关键零部件来源。
东南亚(新加坡、泰国、印尼):承担区域分销与仓储职能,帮助跨国企业在东盟范围内实现高效物流与在地化供应。
欧洲(德国):以高端精密轴承为主,服务于自动化设备与机床制造,虽量少但价值高。
这种多层供应体系的形成,使越南成为承接中高端制造产能转移的重要节点,既能利用低成本优势,又可依托区域化产业链实现稳定生产。
2025年上半年,越南滚珠轴承市场呈现以下主要特征:
进口总额突破5100万美元,稳居高位,反映出制造业持续扩张;
东亚供应体系主导市场,日本与中国合计占比超过55%;
跨国制造商集中采购,工业、汽车、家电三大领域构成需求核心;
区域协同增强:新加坡、韩国、泰国等国家作为贸易中枢,强化越南产业链的区域一体化。
展望下半年,随着越南电子、机械及交通设备制造项目的持续投产,滚珠轴承需求有望继续增长。若全球供应链保持畅通,越南有望在2025年底实现进口总额破亿美元的水平,进一步巩固其在东南亚制造业体系中的核心地位。
本文数据来源于 纽佰德数据
统计口径涵盖进口金额、数量、采购国家数及企业数,企业与贸易地区信息来自NBD全球贸易数据库。
如需了解更详细的企业交易记录、产品型号或采购趋势分析,请访问 数据服务页面
Copyright @2014 - 2026 纽佰德数据 版权所有
津公网安备12010102001282
津ICP备2020008632号-1
违法和不良信息举报电话:022-85190888 | 举报邮箱:service@nbd.ltd | 举报平台